J'ai changer de lycée récemment,et quand je suis arrive la prof de math nous a donne un dm.
Pour l'ex 1 je n?ai jamais fait de carre magique de ma vie du coup j'ai essayer mais j'arrive pas!
Pouvez-vous m'aidez?
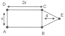
Voila l'énonce:On considère la figure ci-dessous, constitué d'un rectangle auquel est juxtaposé un triangle isocèle.
Les dimension sont en centimètres.
1)Déterminer x pour que l'aire de cette figure soit égale a 60cm2.
2)Pour quelle valeur de x, l'aire est-elle égale a celle du triangle?.
voici l'image de la figure:
Merci de votre lecture :lol3:
