Calcul de courbe

Réponses à toutes vos questions après le Bac (Fac, Prépa, etc.)
mike213
Messages: 3
Enregistré le: 02 Mar 2006, 18:22

calcul de courbe

par mike213 » 02 Mar 2006, 18:33

bonjour,

Je vais esssayer de vous expliquer un systeme que je n'arrive pas a resoudre et de plus sans dessin ca ne va pas etre facile (cele dit, si qq'un me passe son e-mail, je lui enverrai volontier).
j'ai une barre incline.Sur cette barre, sont fixe 2 tiges de verins. A droite de chacun de ces verins on pourra apercevoir 2 points (un a droite du verin Droit qu'on va nomme X et l'autre a gauche du verin gauche qu'on va nomme Y).Lorsque je vais monter le verin de droite (pendant ce temps, le verin de gauche est fixe et bouge pas) mon point X va dessiner un rayon de courbure!! Ma question est :connaissant la distance entre mon verin et mon point X et la distance que le verin va monter,peut-on prevoir les coordonnes du nouveau point d'arrivee de X?

MErci infiniment,
Mike



babulle
Membre Naturel
Messages: 75
Enregistré le: 25 Fév 2006, 22:30

par babulle » 02 Mar 2006, 20:31

désolée, je ne comprends pas bien ce que tu veux dire. ne pourrais-tu pas munir ton dessin d'un repère orthonormé, et modéliser ta barre et tes deux verrins par des segments de droite, et tes points X et Y au repos, par des points. et tu donnerais les coordonnées de tout ça. je crois que ça serait plus clair

mike213
Messages: 3
Enregistré le: 02 Mar 2006, 18:22

par mike213 » 03 Mar 2006, 09:29

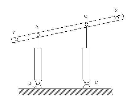
voici un shcema qui vous aiderai (du moins je l'espere) :

http://forums.futura-sciences.com/attachment.php?attachmentid=4699&d=1141333433

Maintenant les points B et D sont fixes. c'est au niveau des points A et C que le mouvement ca s'effectuer, en effet, les tiges peuvent montees que verticalement mais l'une apres l'autre (par exemple : tout d'abord tige qui monte le point C puis ensuite tige qui monte le point A).Par consequent, lorsque je voudrais deplacer ma tige du point C pour avoir le point X de 2 cm au dessus verticalement, cela ne marchera pas car le point A est fixe ,a ce moment.C'est ici qu'on pourra observer un rayon de courbure.
J'espere que c'est plus clair.

Merci.

 

Retourner vers ✯✎ Supérieur

Qui est en ligne

Utilisateurs parcourant ce forum : Aucun utilisateur enregistré et 57 invités

Tu pars déja ?



Fais toi aider gratuitement sur Maths-forum !

Créé un compte en 1 minute et pose ta question dans le forum ;-)
Inscription gratuite

Identification

Pas encore inscrit ?

Ou identifiez-vous :

Inscription gratuite